修理/トイレ
作業方法のご紹介後に各ページの内容のアンケートを設置しております。是非ともご協力ください。
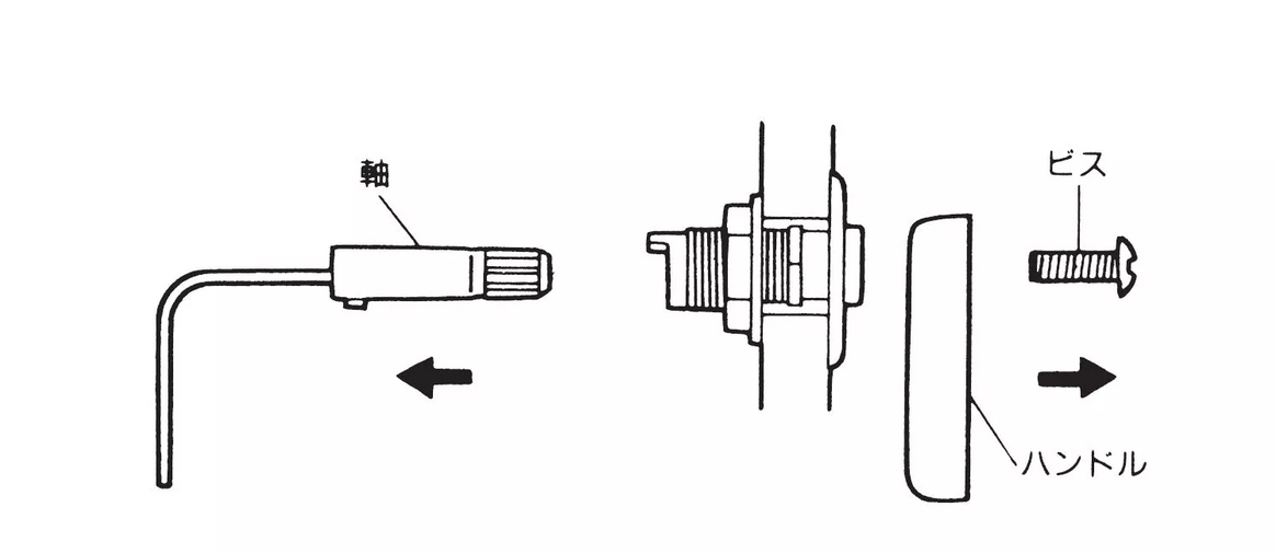
レバーハンドルの動きが悪くなると、途中でひっかかり、トイレの水が止まらなくなることがあります。 そんな時はレバーハンドルを交換しましょう。
ウォシュレット一体形便器(タンクが樹脂製のもの)または、オート便器洗浄付き・リモコン便器洗浄付きのレバーハンドルの場合は、お買い求めの販売店もしくは工事店、またはTOTOメンテナンスへご依頼ください

マイナスドライバー

モンキーレンチ

耐水ペーパー

グリスまたはシリコンオイル
ふたの開け方は「トイレのしくみ」をごらんください。
ウォシュレット一体形便器(タンクが樹脂製のもの)または、オート便器洗浄付き・リモコン便器洗浄付きのレバーハンドルの場合は、お買い求めの販売店もしくは工事店、またはTOTOメンテナンスへご依頼ください。
古い機種のタンクには、金属製のレバーハンドルが付いているものがあり、この場合は、次の手順で分解し、お手入をすると、作動が良くなることがあります。
※ オート・リモコン便器洗浄付きの場合、レバーハンドルの交換については、お買い求めの販売店もしくは工事店、またはTOTOメンテナンスへご依頼ください。

※ 上記はあくまでも応急処置になります。それでも作動が悪い場合は、レバーハンドルを交換しましょう。
これで修理・調整のステップは完了です。掲載内容はお役に立ちましたか? みなさまのお役に立てるよう、ご意見をもとに改善してまいります。このページの掲載内容についてアンケートにご協力ください。
レバーハンドル

※便器・タンクにより交換する部品の品番が異なります。品番検索画面よりご確認ください。
COM-ET(建築専門家のための情報サイト)にて、知りたい品番を検索することができます。


水漏れしている・いつも製品に水滴がついている

便座の温度の調整ができない(異常に熱い)

便座や陶器に割れ、ひびが入っている

新製品のご購入やリフォームのご検討にお役に立つページをご紹介しています。
お気に入りに保存しました